
尽管在媒体上经常报道涉及特斯拉汽车的电池起火事件,但与汽油动力汽车火灾相比,它们在统计上相当罕见。因此,如果这不是你担心的汽油动力汽车,它不应该是你在特斯拉汽车或其他电动汽车上担心的事情。
但这并不意味着,在使电池组更安全、更耐火的情况下,没有改进的余地。
特斯拉最近为两项新发明申请了专利,该公司提交了两份最近发布的专利申请。
这些专利涉及到在电池模块内部电池失效时管理气体释放,以及一种更有效地终止电池包火的新方法。
电池起火的问题是,当一个或多个细胞失灵并着火时,它会释放出大量的能量,从而导致附近的细胞也着火。在电池组中,有时会有成千上万的电池,这可能会产生一个持续数小时的连锁反应。
好消息是,除了在最极端的情况下,司机和乘客有足够的时间离开车辆,这是最常见的情况。但是,如果你能从一个正在失败的细胞中释放出内部产生的气体,你就有可能阻止其他人着火。
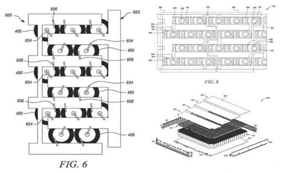
在电池组件的层面上,特斯拉正在为一项新设计申请专利,该设计的电池在电池失效的情况下会破裂,并释放出气体。下面是一些来自专利申请的图片。

在电池组的水平上,如果一切都失败了,而且它已经着火了,那么消防队员就很难解决这个问题。他们必须使用大量的水灭火。即使这样,他们也必须在数小时甚至数天的时间里对其进行监控。
其中一个问题是,特斯拉的电池组被设计成密封的,不让水或任何液体进入车内,因为它安装在汽车的地板上。
但特斯拉正在申请一种方法,在一场火灾中注入一种“热控制液体”。
“电池组有一个外壳,它包含了大量的电池和导体,它能抵抗外壳内部和外壳外部之间的流体流动。”在第一个位置的外壳中形成的出口排气口,可以让废气从外壳的内部流向外壳的外部。在一个不透水的状态下,在第二个地方形成的一个填满的港口,防止从外壳的外部进入到信息披露的内部。填充端口,在一个可渗透的状态下,通过接收穿孔工具,允许通过填充端口将足够数量的热控制液体进入外壳,从而终止电池包中失控的热事件。可以包括一个有通道和一个外部可访问端口的填充端口耦合器。”
这一解决方案可能会让急救人员在未来的特斯拉汽车上更容易解决火灾。

- 最新评论
- 我的评论